

Você pode querer substituir
alguns dos antigos dispositivos incandescentes por lâmpadas fluorescentes. As
lâmpadas fluorescentes iluminam de modo uniforme e sem fazer sombras, mas o melhor
de tudo é que elas são mais eficientes que as lâmpadas incandescentes.
Em uma lâmpada
incandescente, boa parte da energia elétrica se perde em forma de calor, em vez
de luz. A lâmpada fluorescente, ao contrário, permanece fria.
Como funciona uma luminária
fluorescente? Em um circuito fluorescente, começando no pino à esquerda do
plugue, a corrente passa através do reator, dos filamentos da lâmpada, do
interruptor do starter, do outro filamento da lâmpada e, finalmente, através do
pino à direita do plugue. A corrente aquece os dois pequenos elementos nas
pontas do tubo fluorescente; em seguida, o starter é acionado e a corrente
passa através da luminária.
|
O
reator é uma espiral magnética que ajusta a corrente ao longo do tubo. Ele
gera uma sobretensão de arco elétrico através do
tubo quando o starter é acionado e mantém a corrente passando à taxa exata
quando o tubo está brilhando. Na
maioria dos dispositivos fluorescentes, o starter é um interruptor
automático. Enquanto ele sente que a luminária está brilhando, permanece
aberto. |
|
O starter se fecha sempre
que você desliga o dispositivo.
Um dispositivo fluorescente
tem três componentes principais: a lâmpada, o reator e o starter. Quando um desses
componentes funciona mal, geralmente é necessário substituí-lo.
Muitos dispositivos
fluorescentes têm mais de um tubo a fim de fornecer mais luz.
Estas luminárias precisam
ter starters e reatores individuais para cada tubo. Pode parecer que o dispositivo
tem dois tubos funcionando no mesmo reator, mas na verdade há dois reatores
incorporados em um conjunto.
Os dispositivos com quatro
tubos, da mesma forma, têm quatro starters e quatro reatores. Em alguns tipos
de dispositivos, os starters são internos e não podem ser substituídos
individualmente.
Já que há apenas três
componentes fundamentais em uma lâmpada fluorescente, em geral você mesmo pode
fazer os reparos.
Todas as lâmpadas
fluorescentes perdem o brilho com o tempo e podem até começar a tremeluzir ou a
piscar.
Esses são sinais de alerta e
você deve fazer os reparos necessários assim que perceber qualquer alteração no
desempenho normal da luminária. Um tubo fosco geralmente precisa ser
substituído e falhas nesta substituição podem acarretar estragos em outras
partes do dispositivo.
Assim, se a lâmpada
tremeluzir ou piscar repetidamente gastará o starter, fazendo com que o
isolamento desta peça se deteriore.
|
Para
instalar uma nova lâmpada fluorescente, insira os pinos do tubo no suporte e
gire-o para prender no lugar. Substitua o tubo quando ele ficar fosco,
tremeluzente ou piscar. Os
dispositivos fluorescentes podem ser revisados de modo bastante simples
através do método de substituição. Se você suspeitar que algum componente
esteja defeituoso, substitua-o por um novo. Comece
com o bulbo ou com o tubo fluorescente. Você pode tanto instalar um novo como
testá-lo em outro dispositivo, caso não tenha certeza de que ele está
queimado. |
|
Remova o tubo antigo
girando-o para fora dos bocais do dispositivo. Instale o novo da mesma forma:
insira os pinos do tubo no bocal e gire-o para prender no lugar.
Se o problema não estiver no
tubo, tente mudar o starter. Os starters das lâmpadas fluorescentes são
classificados segundo sua potência em watts e é importante que você utilize o
starter correto para o tubo do seu dispositivo. Remova o starter antigo da
mesma forma que você removeu o tubo antigo, girando-o para fora do bocal do
dispositivo. Instale um novo inserindo-o no bocal e girando para trancá-lo no
lugar.
O reator também é
classificado de acordo com sua potência em watts e o que irá substituí-lo
(assim como o starter) deve combinar com a potência do tubo e do tipo de
dispositivo.
O reator é a parte mais
improvável de apresentar defeitos e a mais difícil de substituir; portanto,
deixe o reator por último quando começar a substituir os componentes. Para
substituir um reator defeituoso, desligue o circuito, desmonte o dispositivo,
transfira os fios do reator antigo para o novo (um de cada vez, para evitar
conexões incorretas) e, enfim, monte novamente o dispositivo.
|
|
Para
instalar um starter em um dispositivo fluorescente, simplesmente insira-o no
bocal e gire-o para que fique preso. Se o tubo, o starter e o reator estiverem
todos funcionando bem e a lâmpada não acender mesmo assim, verifique se não
há defeitos no interruptor. Se
a luminária for controlada por um interruptor de parede, substitua-o conforme
mostrado na próxima seção. Se a luminária tiver um interruptor de botão, o
antigo pode ser substituído por um novo do mesmo tipo. Para
desligar o circuito antes de começar a trabalhar no interruptor, remova o
fusível deste circuito ou desarme a chave do disjuntor. |
Na maioria dos casos, o
interruptor é aparafusado a uma porca na parte de dentro da luminária. Dois
fios do interruptor estão conectados, geralmente com protetores isolantes, a
quatro fios do tubo fluorescente. Desmonte o dispositivo o quanto for
necessário para poder acessar a parte de trás do interruptor; aparafuse o novo
interruptor e transfira os fios do antigo para o novo, um de cada vez, para
evitar conexões incorretas. Remonte o dispositivo e ligue o circuito.
Se você estiver pensando em
instalar um novo reator ou um novo interruptor, considere a possibilidade de
instalar um dispositivo completamente novo. Um dispositivo fluorescente antigo
padece dos mesmos efeitos de envelhecimento que um dispositivo incandescente. É
claro que você também pode substituir uma antiga luminária incandescente por um
modelo fluorescente novo. Tanto um quanto o outro podem ser feitos por você
mesmo.
STARTER
É um interruptor térmico
(automático) destinado a fechar e abrir o circuito dos filamentos da lâmpada,
com a finalidade de dar um tempo necessário ao pré-aquecimento dos cátodos, quando,
então a lâmpada entra em funcionamento. Nem todas as luminárias fluorescentes
usam starter, o quebra-luz de escrivaninha ou prancheta usa interruptor de
botão (manual).
Também não usam sistemas de
partida rápida (figs. 8a e b).
|
|
|
Os starters existem com
diversas capacidades de interrupção de corrente, para satisfazer às diversas
potências de lâmpadas, isto é, existem starter para lâmpadas
de 15 e 20 watts e outro para lâmpadas de 30 e 40 watts.
LIGAÇÕES DE LÂMPADAS FLUORESCENTES
Na prática, chamamos de
lâmpada fluorescente, a um conjunto
composto de lâmpada propriamente dita, reator, suporte e calha, se for de
partida rápida. O tipo ‘convencional’
ainda é composto por um ‘starter’.
Para que possamos ligar este
conjunto à rede, é necessário que interliguemos seus componentes. Esta operação
só será possível mediante a leitura do esquema de ligação afixado no reator,
sendo que este esquema varia conforme o tipo de reator e seu fabricante.
Abaixo, vemos alguns
exemplos de esquemas de ligação de reatores:
LIGAÇÃO DE REATOR SIMPLES, TIPO ‘CONVENCIONAL’.

LIGAÇÃO DE REATOR, ‘PARTIDA RÁPIDA’.
|
|
|
LÂMPADA DE DESCARGA FLUORESCENTE
É a lâmpada que utiliza a
descarga elétrica através de um gás para produzir energia luminosa.
CONSTITUIÇÃO.
É constituída por um tubo
cilíndrico de vidro, que contém gás argônico, hélio
ou neônio e gotículas de mercúrio e cuja parede interna é recoberta de
substância fluorescente.
Nos seus extremos tem
filamento de tungstênio, bases e pinos de conexão (fig. 1).

Conforme a substância que
recobre internamente o tubo corresponde a uma cor:
|
SUBSTÂNCIA
FLUORESCENTE |
COR |
|
Tungstênio de magnésio |
Branca |
|
Tungstato de cálcio |
Azul |
|
Silicato de zinco |
Verde |
|
Silicato de cádmio |
Amarelo |
|
Borato de cádmio |
Rosa |
TIPOS DE BASES.
|
As bases são bastante diversificadas
sendo as mais comuns
as representadas na fig. 3a e 3b. A base é introduzida em receptáculos especiais. |
|
FILAMENTOS OU ELETRODOS.
|
É
um dispositivo de aquecimento (filamento de tungstênio) revestido de uma substância
emissora (óxido de bário) a qual é capaz de aumentar a emissão de elétrons
(fig. 4). |
|
|
|
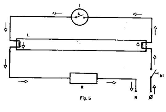
FUNCIONAMENTO. Fechando-se o interruptor (b1), (fig. 5)
forma-se um arco entre os contatos do interruptor térmico (| ), e o circuito se completa conforme as setas. Enquanto
os filamentos se aquecem o calor do arco no interruptor (|
) faz a lâmina bimetálica curvar-se e encosta
no contato fixo. Num espaço de tempo muito curto a lâmina
esfria e se afasta do contato fixo abrindo o circuito; provocando uma tensão
mais alta originária do reator. |
|
|
Essa tensão vai
encontrar os filamentos aquecidos e será suficiente para produzir dentro da
lâmpada uma descarga.
A descarga citada é rica em radiações
ultravioleta que atingindo a camada fluorescente do tubo produz luz visível.

O Funcionamento das Lâmpadas
Fluorescentes.flv
VIDA DAS LÂMPADAS.
Depende diretamente do
número de partida, pois ao acendê-las constantemente encurta sua duração.
Para períodos de
funcionamento de 5 horas a sua vida é de 6000 horas aproximadamente.
O emprego da lâmpada
fluorescente deve ser bem estudado, pois a mesma apresenta vantagens e
desvantagens. Entre as primeiras, figuram farta iluminação sem aquecimento do
ambiente e menor consumo de eletricidade (um quinto da consumida pela lâmpada
incandescente para produzir o mesmo efeito).
Entre as segundas devem ser
mencionadas o empobrecimento da visão de certas cores nos objetos por ela
iluminados e o efeito estroboscópio, o qual consiste na sensação de rodas,
engrenagens e outros objetos em movimento, parecem parados, o que pode dar
lugar a acidentes, por outro lado ela pode realçar certas cores, seu emprego
tem como limitação a altura.
REATOR
Reatores (figs. 5a e 5b) são aparelhos que proporcionam às lâmpadas
fluorescentes as duas tensões necessárias ao seu funcionamento.
|
Conforme
o caso, são compostos de uma bobina de reatância ou
da combinação destas com um autotransformador. Existem vários
tipos de reatores, isto é, para uma, duas, três ou quatro lâmpadas, sendo que
alguns deles possuem, como parte integrante, um capacitor, cuja função é
corrigir o fator de potência do reator. |
|
Os reatores, em geral, são montados
em caixa de chapa de ferro e imersos em massa isolante.
Da caixa saem os terminais
do reator, os quais são constituídos de condutores e se apresentam em cores
diferentes ou de base conectora, a fim de facilitar sua ligação aos outros
elementos da instalação. Os aspectos desses reatores figuram nas ilustrações
abaixo.
Especificações:
Lâminas de ferro-sílico Acarretam baixíssimas perdas
Enchimento com resina de
poliéster. Dissipa o calor gerado pelas bobinas garantindo a prolongada vida do
reator e mantendo os enrolamentos à
temperatura ideal de funcionamento.
O enchimento de poliéster
bloqueia todos os elementos internos do reator, suprimindo qualquer vibração,
além de evitar problemas de vazamento, tornando-o praticamente indestrutível.
Enrolamentos de fios de cobre isolados com epóxi. Garantem condições normais de trabalho até
135º.
|
|
|
|
Alguns modelos de reator
|
|
|
|
|
|
|
|
|
|
|
|
|
|
|
|
|
|
|
|
|
|
|
|
|
|
|
|
|
|
|
|
|
|
|
|
|
|
|
|
|
|
|
|
|
|
|
|
|
|
RECEPTÁCULOS.
As lâmpadas e os starters
são presos e interligados por meio de receptáculos.

|
|
Aplicação
- Soluções para os mais variados
ambientes. |
|
|
§ Diferencial § Disponível em 3 temperaturas de cores:
Amarela (2.700k), Neutra (4.200k) e Branca
(6.400k); § Proporciona mais de 80% de economia em
relação às incandescentes normais; § Dura pelo menos 6 vezes mais que as
incandescentes normais; § Maior linha etiquetada com ENCE/INMETRO e
com selo Procel, atestando a qualidade dos
produtos. |
§
Base E27;.
§
Fator de potência maior que 0,55;
§
Vida mediana de 8.000 horas (exceto para 36W e 46W que
possuem vida mediana de 6.000 horas);
§
Reprodução de cores (IRC) maior que 80%.
LÂMPADAS DE DESCARGAS (MISTA
E VAPOR DE MERCÚRIO)
São lâmpadas que produzem
luz por meio da passagem da corrente elétrica através de um gás ou vapor no
interior de um bulbo de vidro.
CASO 1 - LÂMPADA DE DESCARGA MISTA
|
UTILIZAÇÃO Serve para iluminação em ruas,
fábricas, armazéns, garagens, oficinas, postos de gasolina, hangares,
estacionamentos, plataformas de embarque, jardins públicos, etc. (fig. 1). CONSTITUIÇÃO Bulbo de Vidro: Revestido interiormente em pó
fluorescente para correção da cor. Tubo de descarga: Constituído de quartzo, contendo
eletrodos de ignição, gotículas de mercúrio e argônio (gás). Filamento: Tungstênio em forma de espiral. Base: E-27 e E-40 |
|
FUNCIONAMENTO
Quando ligamos a lâmpada, o
filamento emite luz incandescente. Através dos eletrodos de ignição o mercúrio
se vaporiza permitindo a passagem da corrente elétrica e produzindo luz
invisível que é convertida em luz visível pela camada fluorescente de que a
lâmpada é dotada.
Desse modo a luz
incandescente e a do vapor de mercúrio se somam fornecendo uma luz branca
corrigida e de ótima qualidade.
NOTA:
Quando a lâmpada é
desligada, deve-se deixar esfriar durante
CASO II - LÂMPADA DE DESCARGA - VAPOR DE MERCÚRIO
UTILIZAÇÃO
Serve para iluminação em ruas,
avenidas, praças, jardins, entroncamentos rodos-ferroviários, áreas de
estacionamento, áreas de recreação, fábricas, praças de esportes, estradas,
etc. (fig. 3).
|
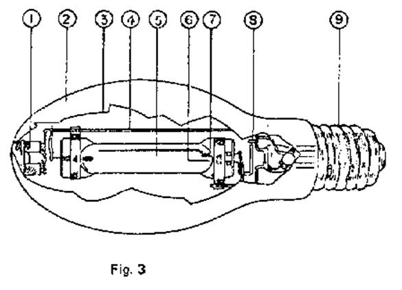
CONSTITUIÇÃO Seus diversos
componentes são os seguintes: 1) Mola de sustentação 2) Bulbo de vidro 3) Camada de pó fluorescente 4) Suporte 5) Tubo de descarga em quartzo 6) Eletrodo auxiliar 7) Eletrodo principal 8) Resistor de partida 9) Base |
|
FUNCIONAMENTO
Na extremidade do tubo de
descarga estão colocados dois eletrodos
sobre os quais se aplica uma tensão,
ocasionando entre eles a passagem de partículas eletricamente carregadas
(elétrons).
Essas partículas procedentes
dos eletrodos colidem com os átomos do vapor ou gás em suspensão dentro do tubo
de descarga, produzindo temporariamente um desequilíbrio na composição desses
átomos: seus elétrons deslocam-se para níveis energéticos superiores.
Como a tendência dos elétrons
é voltar para suas órbitas originais, ao fazê-lo desprendem energia em forma de
radiações ultravioleta.
Para aumentar a eficiência
da luz emitida, revestimos o bulbo com uma camada de pó que irá converter a
radiação ultravioleta invisível em luz visível.
EQUIPAMENTO AUXILIAR
Reator
Do mesmo modo que a lâmpada
fluorescente, a lâmpada a vapor de mercúrio e o reator (ou autotransformador),
cujas finalidades são fornecer a tensão necessária na parede e limitar a
corrente normal de operação, pois é sabido que, quando o vapor de mercúrio e
ionizado, comporta-se como uma resistência negativa.
Há reatores para uso a
circuito-série (com transformador de corrente constante) e circuito múltiplo,
que é mais defendido. Estes reatores também podem ser do tipo
autotransformador.
MONTAGEM DE LÂMPADA
FLORESCENTE.

COMO INSTALAR LÂMPADA
FLUORESCENTE