TREINAMENTO EM SEGURANÇA PARA TRABALHO EM ALTURA
“É muito
melhor arriscar coisas grandiosas, alcançar triunfos e glórias, mesmo
expondo-se à derrota, do que formar fila com os pobres de espírito que nem
gozam muito, nem sofrem muito, porque vivem nessa penumbra cinzenta, que não
conhece vitória nem derrota.”
THEODORE ROOSEVELT
Objetivo
A SULFORP, visando melhorar o Conhecimento de Segurança
do Trabalho, elaborou por meio de sua Equipe Técnica esta apostila, o Programa
de Prevenção de Acidentes para Trabalho em Altura.
Tendo por objetivo estabelecer os requisitos mínimos e as
medidas de proteção para o trabalho em altura, envolvendo o planejamento, a
organização e a execução, de forma a garantir a segurança e a saúde dos
trabalhadores envolvidos direta ou indiretamente com esta atividade.
De acordo com a NR – 35 consideram-se trabalho em altura
toda atividade executada acima de 2,00 m (dois metros) do nível inferior, onde
haja risco de queda.
Portanto apresentaremos a seguir os procedimentos
corretos que deverá ser aplicados no cotidiano industrial, a fim de evitar problemas
de saúde laboral, acidente do trabalho.
Normatização.
NR 01 - ORDEM DE SERVIÇO DE SEGURANÇA DO TRABALHO.
De acordo com a CLT - Consolidação das Leis do Trabalho,
Norma Regulamentadora
NR-01, capítulo 1.7.
CABE AO EMPREGADOR:
a) cumprir e fazer cumprir as disposições legais e
regulamentares sobre segurança e medicina do trabalho.
b) elaborar ordens de serviço sobre segurança e medicina
do trabalho, dando ciência aos empregados, com os seguintes objetivos:
·
Prevenir atos inseguros
no desempenho do trabalho;
·
Divulgar as
obrigações e proibições que os empregados devam conhecer e cumprir;
·
Dar conhecimento aos
empregados de que serão passíveis de punição, pelo descumprimento das ordens de
serviço expedidas;
·
Determinar os
procedimentos que deverão ser adotados em caso de acidente do trabalho e
doenças profissionais ou do trabalho;
·
Adotar medidas
determinadas pelo MTB;
·
Adotar medidas para
eliminar ou neutralizar a insalubridade e as condições inseguras de trabalho.
c) Informar aos trabalhadores:
·
Os riscos
profissionais que possam originar-se nos locais de trabalho;
·
Os meios para
prevenir e limitar tais riscos e as medidas adotadas pela empresa;
·
Os resultados dos
exames médicos e de exames complementares de diagnóstico aos quais os próprios
trabalhadores forem submetidos;
·
Os resultados das
avaliações ambientais realizados nos locais de trabalho.
·
Permitir que
representantes dos trabalhadores acompanhem a
fiscalização dos preceitos legais e regulamentares sobre a segurança e medicina
do trabalho.
1.8. CABE AO
EMPREGADO:
a) cumprir as disposições legais e regulamentares sobre
segurança e medicina do trabalho, inclusive as ordens de serviço expedidas pelo
empregador;
b) usar o EPI fornecido pelo empregador;

c) submeter-se aos exames médicos previstos nas Normas
Regulamentadoras - NR; 
d) colaborar com a empresa na aplicação das Normas
Regulamentadoras – NR a seguir:
ANDAIMES SUSPENSOS
MECÂNICOS
18.15.30 - Os sistemas de fixação e sustentação e as
estruturas de apoio dos andaimes suspensos deverão ser precedidos de projeto
elaborado e acompanhado por profissional legalmente habilitado.
18.15.30.1 - Os andaimes suspensos deverão ser dotados de
placa de identificação, colocada em local visível, onde conste a carga máxima
de trabalho permitida.
18.15.30.2 - A instalação e a manutenção dos andaimes
suspensos devem ser feitas por trabalhador qualificado, sob
supervisão e responsabilidade técnica de profissional legalmente
habilitado obedecendo, quando de fábrica, as especificações técnicas do
fabricante.
18.15.30.3 - Deve ser garantida a estabilidade dos
andaimes suspensos durante todo o período de sua utilização, através de
procedimentos operacionais e de dispositivos ou equipamentos específicos para
tal fim.
18.15.31 - O trabalhador deve utilizar cinto de segurança
tipo paraquedista, ligado ao trava- quedas de segurança este, ligado a
cabo–guia fixado em estrutura independente da estrutura de fixação e
sustentação do andaime suspenso.
18.15.32 - A sustentação dos andaimes suspensos deve ser
feita por meio de vigas, afastadores ou outras estruturas metálicas de
resistência equivalente a, no mínimo, três vezes o maior esforço
solicitante.
18.15.32.1 - A sustentação dos andaimes suspensos somente
poderá ser apoiada ou fixada em elemento estrutural.
18.15.32.1.1 - Em caso de sustentação de andaimes
suspensos em platibanda ou beiral da edificação, essa deverá ser precedida de
estudos de verificação estrutural sob-responsabilidade
de profissional legalmente habilitado.
18.15.32.1.2 - A verificação estrutural e as
especificações técnicas para a sustentação dos andaimes suspensos em platibanda
ou beiral de edificação deverão permanecer no local de realização dos
serviços.
18.15.32.2 - A extremidade do dispositivo de sustentação,
voltada para o interior da construção, deve ser adequadamente fixada, constando
essa especificação do projeto emitido.
18.15.32.3 - É proibida a fixação de sistemas de
sustentação dos andaimes por meio de sacos com areia, pedras ou qualquer outro
meio similar.
18. 15.32.4 - Quando da utilização do sistema contrapeso,
como forma de fixação da estrutura de sustentação dos andaimes suspensos, este
deverá atender as seguintes especificações mínimas:
a) ser invariável (forma e peso especificados no
projeto);
b) ser fixado à estrutura de sustentação dos andaimes;
c) ser de concreto, aço ou outro sólido não granulado,
com seu peso conhecido e marcado de forma indelével em cada peça; e,
d) ter contra venta mentos que impeçam seu deslocamento
horizontal.
18.15.33 - É proibido o uso de cabos de
fibras naturais ou artificiais para sustentação dos andaimes suspensos.
18.15.34 - Os cabos de suspensão devem trabalhar na
vertical e o estrado na horizontal.
18.15.35 - Os dispositivos de suspensão devem ser
diariamente verificados pelos usuários e pelo responsável pela obra, antes de
iniciados os trabalhos.
18.15.35.1 - Os usuários e o responsável pela verificação
deverão receber treinamento e manual de procedimentos para a rotina de
verificação diária.

18.16. Cabos de Aço e
Cabos de Fibra Sintética
O que e o cabo de
aço?
O cabo
de aço é muito parecido
com uma corda, porém ao invés de ser feito de sisal ou nylon, é feito de arames
de aço que foram enrolados em forma de hélice. Existe também
a Cordoalha que é formada por arames, porém com construções
diferentes de um cabo de aço.
Quais são os tipos
de cabos de aço?

Existem vários
tipos de cabo de aço, são eles: cabo de aço polido, cabo de aço galvanizado,
cabo de aço inox e cabo de aço revestido/encapado. Também existem vários tipos de
construções: 6×7, 6×25, 6×36 e 6×41.
Cada tipo e
construção tem um uso em específico. Uns sendo mais resistentes, porém menos
flexíveis e vice-versa. Para saber mais sobre as construções dos cabos de aço,
consulte uma tabela de cabos de aço.
Cabo de aço inox
O cabo de aço inox é fabricado de aço inoxidável,
por isso são mais caros que os outros tipos de cabos de aço. São destinados à trabalhos em ambientes que possuem corrosão, tais como o
marítimo.
Também são muito utilizados na decoração de ambientes, por se tratarem
de um material “refinado”. Se este é seu caso, o cabo de aço inox é o que você
precisa.
Cabo de aço polido
O cabo de aço polido é o cabo de aço que é fabricado
a partir de arames de aço convencionais, que não possuem revestimentos externos
de proteção. São apenas cobertos com uma camada de graxa. É o tipo de cabo de
aço mais comum. Este tipo de cabo de aço é muito utilizado em sistemas de
polias, tais como guindastes e elevadores. Se este for o seu caso, o cabo de
aço polido é o que você precisa.
Cabo de aço revestido/encapado
O cabo de aço revestido/encapado é aquele cabo de
aço que contém uma camada externa de revestimento plástico, geralmente o PVC ou
o nylon. Esta camada é uma proteção contra ambientes corrosivos e hostis. É muito utilizado em controles industriais, embarcações,
varais, academias e indústria automobilística. Se este for o seu caso, o cabo
de aço revestido/encapado é o que você precisa.
Cabo de aço galvanizado
O cabo de aço galvanizado é um cabo de aço que
recebe uma camada de zinco externa, chamada galvanização. Esta camada serve
para proteção do aço, que em comparação ao cabo de aço polido irá possuir maior
resistência à corrosão. É normalmente utilizado pela indústria pesqueira, naval
e offshore. Se este é seu caso, o cabo de aço galvanizado é o que você precisa.
Para que é usado o cabo de aço?
Os cabos de aço são
comumente utilizados em elevadores, guindastes, guinchos e na construção civil
em geral. No uso doméstico, algumas pessoas utilizam o cabo de aço para
fabricação de varais para roupas e também para decoração interna, já que os
cabos de aço inoxidáveis tem um visual muito atraente.
Cabo de aço preço
Cabo de aço preço: o que diferencia os preços de um tipo de cabo de
aço para o outro? Os preços do cabo de aço aumentam conforme a qualidade do aço
utilizado na fabricação dos arames, na quantidade/formação de cada perna do
cabo de aço e no acabamento. Em resumo, o cabo de aço inox sempre terá o preço
mais caro, seguido dos cabos de aço com construções fora de padrão.
18.16.1. É obrigatória a observância das condições de
utilização, dimensionamento e conservação dos cabos de aço utilizados em obras de
construção, conforme o disposto na norma técnica vigente NBR 6327/83 - Cabo de
Aço/Usos Gerais da ABNT.
18.16.2. Os cabos de aço de tração não podem ter emendas
nem pernas quebradas que possam vir a comprometer sua segurança.
18.16.2.1 Os cabos de aço devem ter carga de ruptura
equivalente a, no mínimo, 5(cinco) vezes a carga
máxima de trabalho a que estiverem sujeitos e resistência à tração de seus fios
de, no mínimo, 160 kgf/mm2 (cento e sessenta quilogramas-força por milímetro
quadrado).
TESTE
DE RESIST LAÇO DE CABO DE AÇO 1.3-4' (45MM) ALMA DE
AÇO 6X25 POLID
18.16.3. Os cabos de aço e de fibra sintética devem ser
fixados por meio de dispositivos que impeçam seu deslizamento e desgaste.
18.16.4 Os cabos de aço e de fibra sintética devem ser
substituídos quando apresentarem condições que comprometam a sua integridade em
face da utilização a que estiverem submetidos.
18.16.5 Os cabos de fibra sintética utilizados para
sustentação de cadeira suspensa ou como cabo-guia para fixação do trava-quedas
do cinto de segurança tipo pára-quedista, deverá ser
dotado de alerta visual amarelo.
18.16.6. Os cabos de fibra sintética deverão atender as
especificações constantes do Anexo I - Especificações de Segurança para Cabos
de Fibra Sintética, desta NR.
Anexo: Especificações
de Segurança para Cabos de Fibra Sintética
1. O Cabo de fibra
sintética utilizado nas condições previstas do subitem
18.16.5 deverá
atender as especificações previstas a seguir:
a) deve ser constituído em trançado triplo e alma
central.
b) Trançado externo em multifilamento de poliamida.
c) Trançado intermediário e o alerta visual de cor
amarela em multifilamento de polipropileno ou poliamida na cor amarela com o
mínimo de 50% de identificação,
Não podendo ultrapassar 10%(dez
por cento) da densidade linear.
d) Trançado interno em multifilamento de poliamida.
e) Alma central torcida em multifilamento de poliamida.
f) Construção dos trançados em máquina com 16, 24, 32 ou
36 fusos.
g) Número de referência: 12 (diâmetro nominal em mm.).
h) Densidade linear 95 + 5 KTEX (igual a 95 + 5 g/m).
i) Carga de ruptura mínima 20 KN.
j) Carga de ruptura mínima de segurança sem o trançado
externo 15 KN.
2
. O cabo de fibra sintética utilizado nas condições
previstas no subitem
18.16.5 deverá atender as
prescrições de identificação a seguir:
a) Marcação com fita inserida no interior do trançado
interno gravado NR 18.16.5 ISO 1140 1990 e fabricante com CNPJ.
b) Rótulo fixado firmemente contendo as seguintes
informações:
a.
Material constituinte: poliamida
b.
Número de referência: diâmetro de 12mm
c.
Comprimentos em metros
c) Incluir o aviso: “CUIDADO: CABO PARA USO ESPECÍFICO EM
CADEIRAS SUSPENSAS E CABO-GUIA DE SEGURANÇA PARA FIXAÇÃO DE TRAVA-QUEDAS”.
3. O cabo sintético deverá ser submetido a Ensaio
conforme Nota Técnica ISO 2307/1990, ter avaliação de carga ruptura e material
constituinte pela rede brasileira de laboratórios de ensaios e calibração do
Sistema Brasileiro de Metrologia e Qualidade Industrial.
Cabos de aço e de fibra
sintética
18.27. Sinalização de
segurança
18.27.1. O canteiro de obras deve ser sinalizado com o
objetivo de:
a) identificar os locais de apoio que compõem o canteiro
de obras;
b) indicar as saídas por meio de dizeres ou setas;
c) manter comunicação através de avisos, cartazes ou similares;
d) advertir contra perigo de contato ou acionamento
acidental com partes móveis das máquinas e equipamentos.
e) advertir quanto a risco de queda;
f) alertar quanto à obrigatoriedade do uso de EPI,
específico para a atividade executada, com a devida sinalização e advertência
próximas ao posto de trabalho;
NR 35 - TRABALHO EM ALTURA Entra em vigor 27/09/2012
35.2.2 Cabe aos
trabalhadores:
a) cumprir as disposições legais e regulamentares sobre
trabalho em altura, inclusive os procedimentos expedidos pelo empregador;
b) colaborar com o empregador na implementação
das disposições contidas nesta Norma;
c) interromper suas atividades exercendo o direito de recusa,
sempre que constatarem evidências de riscos graves e iminentes para sua
segurança e saúde ou a de outras pessoas, comunicando imediatamente o fato a
seu superior hierárquico, que diligenciará as medidas cabíveis;
d) zelar pela sua segurança e saúde e a de outras pessoas
que possam ser afetadas por suas ações ou omissões no trabalho.
NR – 06 -
EQUIPAMENTOS DE PROTEÇÃO INDIVIDUAL – EPI

Os Equipamentos
de Proteção Individual – EPIs, têm a finalidade de
proteger o trabalhador dos riscos à sua saúde e segurança individual, gerados
por agentes agressivos que, muitas vezes não podem ser eliminados do seu ambiente
de trabalho.
O uso dos Equipamentos de Proteção é obrigatório por lei,
conforme determina o artigo 158 de CLT. Não usar estes equipamentos pode
resultar na rescisão de contrato de trabalho por justa causa.
Constituindo – se
como obrigação dos empregados:
·
Utilizar os
Equipamentos de Proteção, nas condições estabelecidas por esse guia, apenas
para a finalidade a que se destinam ou sempre que o trabalho exigir.
·
Responsabilizar – por
sua guarda e conservação.
·
Solicitar ao seu
gerente qualquer equipamento que esteja faltando ou que necessite ser
substituído.
EPIS PARA PROTEÇÃO
AUDITIVA ABAFADOR DE RUÍDOS
Os protetores auriculares devem ser utilizados para
trabalhos em locais em que o nível de ruído seja superior ao estabelecido na NR
– 15 Anexos - I e II A finalidade deste equipamento é proteger o aparelho
auditivo de ruídos incômodos e excessivos.
Em salas com o Grupo Motor Gerador em funcionamento, o
seu uso é obrigatório, juntamente com o Plug de
Proteção Auricular. Nos demais locais com ruído este pode ser usado
individualmente.
Devendo ser limpo diariamente com flanela ou algodão,
embebidos em álcool. E quando detectado algum dano na concha ou na haste, deve
ser substituído imediatamente.

Plug de Proteção Auricular Como no Abafador de ruídos o Plug tem a função de proteger o aparelho auditivo.
Sendo de forma obrigatória o seu uso em qualquer local
onde ocorra geração de ruídos elevados, como: torres de Refrigeração e Máquinas
de ar condicionado e etc. como dito no item anterior no Grupo Motor Gerador
este Plug deve ser utilizado junto com o Abafador de
Ruídos. Como já é identificado pela classe dos EPIs este é de uso individual
devendo ser mantido limpo, afastado de locais úmidos e acondicionado em sua
embalagem.

EPIs para Produtos
Químicos Avental para Proteção a Produtos Químicos
A finalidade deste EPI é de proteger a parte frontal do corpo
do funcionário que o utiliza contra a ação de produtos químicos e também da
umidade.

Luvas de Borracha
Sintética ou PVC
As luvas de Borracha Sintética ou PVC são usadas para
proteger as mãos contra irritações causadas por produtos químicos, ácidos,
solventes, detergentes e outros.
Após serem utilizadas as mesmas devem,
ser lavadas e secadas a sombra.

Filtro e Semimáscara de Proteção Respiratória
Este equipamento tem a finalidade de proteger o trabalhador
contra Gases e Vapores, Neblinas tóxicas, gases orgânicos e ácidos. Sendo que
sua utilização é necessária e obrigatória nos trabalhos de verificação de carga
ou reposição de solução ácida, ou em outras atividades que envolvam o uso de
produtos químicos ou tóxicos.

Óculos
Panorâmico
Este tem por finalidade a proteção dos olhos contra
poeiras e respingos químicos, este tipo de óculos pode ser usado sobre óculos com
lentes corretivas.

EPIs para Riscos
Elétricos Luva para Baixa Tensão
A finalidade das Luvas para Baixa Tensão é proporcionar
proteção contra choques de até 600 volts.
A sua utilização é obrigatória em trabalhos onde se
constate a presença de tensões de até 600 volts, como por exemplo, em indução
ou contatos provenientes de contatos de energia elétrica em armários de
distribuição, ferragens e outros locais.
As Luvas de Baixa Tensão devem ser utilizadas sob as
Luvas de Cobertura e mantidas limpas e acondicionadas, afastadas de materiais
perfuro - cortantes e protegidas da luz direta do sol, quando não utilizadas.

Luvas para Alta Tensão
Tem como finalidade à proteção das mãos do usuário contra
choques elétricos de até 17.000 volts. A sua utilização é obrigatória em
manobra de ligamento e desligamento da chave seccionadora geral ou parcial de
alta tensão em cabine transformadora.
Devem ser utilizadas sob as luvas de cobertura em couro
(vaqueta).

Luvas de Proteção
para Baixa Tensão e Alta Tensão (de Cobertura)
A sua finalidade é de proteger as luvas de baixa e alta
tensão de possíveis perfurações, cortes, desgastes e rupturas.
Esta é utilizada sobre as luvas de baixa e alta tensão
(de Borracha).
Devem ser mantidas sempre secas e quando úmidas ou
molhadas, devem ser secas a sombra.

Calçados de Segurança
Este tem por finalidade proteger os pés do usuário contra
quedas, escorregões, impactos contra objetos, perfurações e entorses.
Deixando claro que este calçado de Segurança não deve ter
nenhum componente metálico, pois este não deve ser condutor elétrico.

EPIs para Trabalhos
no pátio da indústria e em Torres Capacete de Proteção
A finalidade do capacete é proteger a cabeça do usuário
contra objetos que caem ou que são projetados, de choque
elétricos, de impactos contra ferragens e das intempéries.
A sua parte interna, denominada de suspensão deve ser
ajustada para firmar o capacete à cabeça do usuário.
Para trabalhos em altura deve-se aumentar a segurança do
usuário, utilizando a correia (jugular) devidamente regulada sob o queixo.

1.1.1 Cintos para
Trabalho em Locais Altos
18.23. Equipamento de Proteção Individual - EPI
18.23.1. A empresa é obrigada a fornecer aos
trabalhadores, gratuitamente, EPI adequado ao risco e em perfeito estado de
conservação e funcionamento, consoante as disposições
contidas na NR 6 - Equipamento de Proteção Individual - EPI.
18.23.2. O cinto de segurança tipo abdominal somente deve
ser utilizado em serviços de eletricidade e em situações em que funcione como
limitador de movimentação.
18.23.3. O cinto de segurança tipo pára-quedista
deve ser utilizado em atividades a mais de 2,00m (dois metros) de altura do
piso, nas quais haja risco de queda do trabalhador.
18.23.3.1 O cinto de segurança deve ser dotado de dispositivo trava-quedas e estar ligado a cabo de segurança
independente da estrutura do andaime.
18.23.4. Os cintos de segurança tipo abdominal e tipo pára-quedista devem possuir dois talabartes com argolas e
mosquetões de aço forjado, ilhoses de material não-ferroso
e fivela de aço forjado ou material de resistência e durabilidade
equivalentes.
Este conjunto de cintos é dar condições ao empregado para
escalar e descolar em torres estaiadas ou auto - suportadas, com segurança e conforto.
A sua utilização é obrigatória nos trabalhos em torres estaiadas e em torres auto – suportadas,
locais acima de 2.00 m.
Quando este conjunto de cintos não estiver sendo
utilizado deve estar acondicionando na embalagem e guardado.



Operador
foi salvo pelo cinto de segurança
NR – 07 – PCMSO –
Programa de Controle Médico de Saúde Ocupacional
O PCMSO é o Programa de Controle Médico e Saúde
Ocupacional onde são levantados os riscos e seus agentes causadores de doenças
do trabalho.
O PCMSO – determina o exame que cada trabalhador deverá
realizar de acordo com o cargo que exerce dentro da empresa, definindo também a
sua periodicidade, ou seja, se o exame a ser realizado será semestral, anual ou
bianual.
O PCMSO deve incluir, entre outros, a realização
obrigatória dos exames médicos:
·
Admissional;
·
Periódico;
·
De retorno ao
trabalho;
·
De mudança de função;
·
Demissional.
Quando deveremos
fazer estes exames:
Admissional
Este deverá ser realizado antes que os funcionários
contratados iniciem suas atividades.
Periódico
Os exames periódicos deverão ser realizadas
de acordo com os intervalos mínimos de tempo:
·
A cada ano ou
intervalos menores, a critério do medico encarregado, ou se notificado pelo
medico agente de inspeção do trabalho.
De Retorno ao
Trabalho
No exame médico de retorno de trabalho, deverá ser
realizada obrigatoriamente no primeiro dia da volta ao trabalho de trabalhador
ausente por período igual ou superior a 30 (trinta) dias por motivo de doença
ou acidente por motivo ocupacional ou não, ou parto.
De mudança de Função
Este exame será realizado antes de toda a mudança de
função de cada trabalhador. Entende – se por mudança de função toda e qualquer
alteração de atividade, posto de trabalho ou de setor que implique na exposição
do trabalhador a risco diferente daquele a que estava exposto antes da
mudança.
Demissional
O exame medico demissional será obrigatório a
realização até a data da homologação, desde que o último exame médico
ocupacional tenha sido realizado há mais de:
·
135 (centro e trinta
e cinco) dias para as empresas de grau de risco 1 e 2.
·
90 (noventa) dias
para empresa de grau de risco 3 e 4.
Para cada exame medico realizado deverá ser emitido um
Atestado de Saúde Ocupacional – ASO, em duas vias.
Sendo que a 1ª via ficara arquivada no local de trabalho,
a disposição da fiscalização do trabalho.
Já a 2ª via deverá obrigatoriamente ser entregue ao
trabalhador, mediante o recibo da 1ª via.
Prevenção de
Acidentes do Trabalho
Conceito Legal
Decreto Lei: 83.312 de 23 de Janeiro de 1984.
Acidente do trabalho é aquele que ocorre pelo exercício
do trabalho a serviço da empresa, provocando lesão corporal ou perturbação
funcional que cause a morte, ou perda, ou redução permanente ou temporária, da
capacidade para o trabalho.
O acidente sofrido pelo trabalhador no local e no horário
de trabalho, em conseqüência de:
·
Ato de agressão,
sabotagem ou terrorismo praticado por terceiro ou companheiro de trabalho;
·
Ofensa física
intencional, inclusive de terceiros, por motivo de disputa relacionada com o
trabalho;
·
Ato de imprudência,
de negligência ou imperícia de terceiro, ou de companheiro de trabalho;
·
Ato de pessoa privada
do uso da razão;
·
Desabamento,
inundação, incêndio e outros casos fortuitos decorrentes de força maior;
A doença proveniente de contaminação acidental do
empregado no exercício de sua atividade.
A doença ocupacional é doença relacionada ao trabalho são
consideradas como acidente do trabalho, quando é aquela que se apresenta em
decorrência de determinada atividade.
OBSERVAÇÃO: Doenças que não constam do referido anexo,
mas sendo estabelecido o nexo causal pela perícia do INSS poderão ser
reconhecidas como doença do trabalho.
O acidente sofrido,
ainda que fora do local e horário de trabalho;
·
Na execução de ordem
ou na realização de serviços sob a autoridade da empresa; Na prestação
espontânea de qualquer serviço à empresa para lhe evitar prejuízo ou
proporcionar proveito;
·
Em viagem a serviço
da empresa, inclusive para estudo, quando financiada por esta, dentro de seus
planos para melhor capacitação de mão-de-obra, independentemente do meio de
locomoção utilizado, inclusive veículo de propriedade do segurado;
·
No percurso da
residência para local de trabalho ou deste para aquele, qualquer que seja o
meio de locomoção, inclusive veiculo de propriedade do segurado. (Acidente de
Trajeto).
Parágrafo Primeiro – Nos períodos destinados a refeição
ou descanso, ou por ocasião da satisfação de outras necessidades fisiológicas,
no local de trabalho ou durante este, o empregado é considerado no exercício do
trabalho.
Parágrafo Segundo – Não é considerada agravação ou
complicação de acidente de trabalho a lesão que, resultante do acidente de
outra origem, se associe ou se superponha às conseqüências
do anterior.
Parágrafo Terceiro – Considerar – se – á como dia do
acidente, no caso de doença profissional ou trabalho, a data do inicio da
incapacidade laboral para o exercício da atividade habitual, ou o dia da
segregação compulsória, ou o dia em que for realizado o diagnóstico, valendo
para esse efeito o que ocorrer primeiro.
Parágrafo Quarto – Será considerado agravamento de
acidente de trabalho aquele que sofrido pelo acidentado quando estiver sob responsabilidade da Reabilitação Profissional.
Causas dos Acidentes
de Trabalho:
“Atos e condições inseguras são os fatores que,
combinados ou não, desencadeiam os acidentes do trabalho. São, portanto as
causas diretas dos acidentes”.
Série Especial
Acidente de Trabalho - Construção Civil
Atos
Faltoso
“Ë a maneira como
as pessoas expõem, consciente ou inconscientemente, a riscos de acidentes”.
Dentro de grupo destacam-se:
·
Levantar peso de modo
incorreto;
·
Ficar junto ou sob cargas suspensas;
·
Colocar parte do
corpo em local perigoso;
·
Usar máquina sem
habilitação ou permissão;
·
Imprimir excesso de
velocidade ou sobrecargas;
·
Lubrificar, ajustar e
limpar máquinas em movimento;
·
Improvisação e mau
emprego de ferramentas manuais;
·
Improvisar escadas;
·
Improvisar bancada;
·
Deixar porta do
quadro de distribuição aberta.
·
Inutilizar
dispositivos de segurança;
·
Não usar as proteções
individuais;
·
Usar roupas
inadequadas;
·
Manipulação insegura
de produtos químicos;
·
Fumar ou usar chamas
em locais indevidos;
·
Brincadeiras e
exibicionismo;
·
Depositar ferramentas
e materiais nas passagens;
·
Utilizar equipamentos
defeituosos;
SÃO CAUSAS FREQÜENTES
DE ATOS FALTOSOS:
·
Desconhecimento dos
riscos de acidente;
·
Treinamento inadequado
dos trabalhadores;
·
Falta de interesse ou
aptidão do trabalhador;
·
Excesso de confiança;
·
Clima de insegurança;
·
Não utilizar EPI;
·
Retirar as proteções
de máquinas e equipamentos;
·
Jogar ferramentas
impedindo as passagens;
·
Fumar nas áreas de riscos;
·
Deixar painel
elétrico aberto;
·
Subir na carroceria
de caminhão, ou em torres sem o cinto de segurança;
Condições Inseguras:
“Condições inseguras dos locais de trabalho são aquelas
que expõem em risco a integridade física e/ou a saúde dos trabalhadores ou a
própria segurança das instalações”.
Como condições inseguras podem ser relacionadas:
·
Falta de protetores
individuais;
·
Falta de escada
segura;
·
Fios elétricos sem
proteção;
·
Terminais elétricos
em curto-circuito;
·
Falta de treinamento e
capacitação;
·
Falta de aterramento
a equipamentos elétricos.
·
Iluminação
deficiente;
·
Pisos úmidos
escorregadios;
·
Ventilação
inadequada;
·
Má arrumação e falta
de limpeza na área de trabalho;
·
Temperatura;
·
Ruído;
·
Máquina e
equipamentos sem proteção das correias, engrenagens
·
Falta de proteção lateral de escadas, andaimes, mezanino e
outros;
·
O ritmo repetitivo
influenciando na ergonomia dos trabalhadores.
Medidas de proteção
contra quedas em altura
18.27. Sinalização de segurança
18.27.1. O canteiro de obras deve ser sinalizado com o
objetivo de:
g) identificar os locais de apoio que compõem o canteiro
de obras;
h) indicar as saídas por meio de dizeres ou setas;
i) manter comunicação através de avisos, cartazes ou
similares;
j) advertir contra perigo de contato ou acionamento
acidental com partes móveis
das máquinas e equipamentos.
k) advertir quanto a risco de queda;
l) alertar quanto à obrigatoriedade do uso de EPI,
específico para a atividade
executada, com a devida sinalização e advertência próximas ao
posto de trabalho;
Aéreas - Parte 1 (Versão Completa)
Área
de Vivência - Parte 1 (Versão Completa)
Plataformas
de Proteção - Bandejas
18.28.
Treinamento.
18.28.1. Todos os empregados devem receber treinamentos
admissional e periódico, visando a garantir a execução de suas atividades com
segurança.
18.28.2. O treinamento admissional deve ter carga horária
mínima de 6 (seis) horas, ser ministrado dentro do
horário de trabalho, antes de o trabalhador iniciar suas atividades, constando
de:
a) informações sobre as condições e meio ambiente de
trabalho;
b) riscos inerentes a sua função; (118.552-7 / I2)
c) uso adequado dos Equipamentos de Proteção Individual -
EPI; (118.553-5 / I2)
d) informações sobre os Equipamentos de Proteção Coletiva
- EPC, existentes no canteiro de obra.







Trava quedas


Montagem de andaimes.
O trabalho de montagem de andaimes possui características
peculiares, pois em geral, os pontos de ancoragem são o próprio andaime, o que
requer uma especial atenção a cada movimento pois o
trabalhador só deverá se conectar a pontos que já estejam corretamente
posicionados e travados.
Anterior a montagem devemos nos
informar sobre a característica do andaime, e a forma correta para a montagem
do mesmo.
A área deverá ser isolada a fim de evitarmos a que da de
materiais e o içamento das peças deverá ser feito com
auxilio de equipamentos especiais para este fim.
A utilização dos Epi’s
necessários são imprescindíveis conforme demonstrado na figura abaixo.

Obs:O uso de cinto de
segurança, talabartes duplos e conectores de grande abertura satisfazem
perfeitamente a todos os requisitos de segurança.

A movimentação com
Talabartes
Em todas as situações de trabalho em altura, onde não
existam sistemas de proteção coletiva instalado, o trabalhador deverá portar e
utilizar um sistema de proteção contra quedas individual, isto de maneira
constante durante todo o seu deslocamento pelas estruturas ou escadas tipo
marinheiro.
Uma maneira de cumprir este requisito de maneira segura e
eficiente, é a utilização de "Talabartes de
Progressão Duplos", estes são utilizados conectando-se alternadamente cada
uma das duas extremidades do talabarte, de maneira que o trabalhador tenha
sempre um dos dois conectores de grande abertura, conectado a estrutura,
protegendo-o contra qualquer possibilidade de queda.
Este sistema deverá ter um absorvedor de energia,
instalado entre os talabartes e o corpo do trabalhador, afim
de minimizar o impacto causados a este último, em um caso de queda.
É importante que os talabartes sejam sempre conectados a
pontos acima da cabeça do trabalhador.

Cadeiras suspensas
Formas de fixação dos cabos de aço e cordas
INTRODUÇÃO As normas NBR 14.626,
14.627, 14.628 e 14.751 da ABNT exigem que os cabos e cordas das cadeiras e
trava-quedas sejam fixados em pontos com resistência de, no mínimo 1500 kg.
Normas internacionais determinam que todos os suportes
estabilizados por contrapesos, simples encaixe ou grampos de apertos possuam
ancoragem em ponto resistente (mínimo de 1500 kg) por meio de corrente ou cabo
de aço.
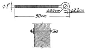
a) Fixação direta
(sem uso de suportes)
Nesse caso, não há distan cia entre os cabos e a fachada, sendo possível a
movimentação da cadeira, com facilidade, do solo ao penúltimo andar (figura
1).
As cordas devem ser protegidas da quina da parede por
meio de material flexível, tipo borracha.

Os cabos de aço não devem ser apoiados nas quinas, mesmo com
proteção, tipo borracha, visto que sofrem permanente deformação e ficam com a
resistência comprometida.
Para sua correta fixação é necessário usar corrente ou
outro cabo de aço (com diâmetro maior) ligados por meio de
mosquetão ou manilhas.
b) Fixação indireta
(com uso de suportes)
Utilizando-se suportes que deixam os cabos distanciados
cerca de 30 cm da fachada, é possível movimentar-se com facilidade do solo ao
ultimo andar.
Abaixo, apresentamos os principais tipos de suportes e
suas características:
Suporte tipo “TRIPE
GULIN MODELO T-2”
Pode ser usado por todos os modelos de cadeiras suspensas
e guinchos manuais Gulin. Possibilita movimentação
simples da cadeira pelo guincho acionado pelo vigia ou dupla movimentação
(vigia com o guincho e/ou trabalhador acionando a cadeira).
A estabilidade do tripé é por uma base constituída de 12
contrapesos de 25 kg, interligados por dois parafusos.
Aplicações
1 – Cadeira Suspensa
Na utilização da cadeira suspensa, o Ministério do
Trabalho (NR 18.15.52) obriga o uso de trava-quedas com cinturão de segurança
tipo pára-quedista.
Para atender esta exigência, costumava-se usar o trava-queda com ligação dorsal.
Tal procedimento atende as normas de segurança, porem,
dificulta o manuseio do trava-queda e diminui a produtividade.


Andaime Suspenso Mecânico
Motorizado
Andaimes Suspensos Mecânicos
Manuais
Escada tipo
“Marinheiro”
Em escadas, com altura superior a 2 m, o Ministério do
Trabalho exige o uso de trava-queda (NR 6.3).

Andaime Suspenso
O Ministério do Trabalho exige uso de trava-queda em todo
tipo de andaime suspenso (NR 6.3)
Importante: A ligação do trava-queda ao cinto (talabarte)
pode ter, no máximo , 6 elos de corrente de aço.
Desejando-se maior mobilidade do operário, é necessário usar trava-queda
retrátil.

Balancim elétrico
Utilizado em todas as fases de obras civis e industriais,
o Balancim Elétrico funciona com comando paralelo de subida e descida através de
cabos de aço. Apresenta plataformas moduláveis de 1 a 8 metros de comprimento,
capacidade de até 500 quilos e velocidade de 9 metros por minuto.
O equipamento segue de forma rígida todos os parâmetros e
normas de proteção do usuário: Norma Nacional NR-18, Ministério do Trabalho do Brasil e
Norma Internacional BSEM 1808 Norma Britânica (utilizada na Europa para
equipamentos de acesso).
SISTEMA DE SEGURANÇA PARA MOVIMENTAÇÃO HORIZONTAL
São
linhas horizontais constituídas de trilho ou cabo de aço, com resistência em
qualquer ponto a carga de no mínimo 1500 kg, destinadas a dar mobilidade, com
segurança aos trabalhadores que efetuam movimentação horizontal com risco de
queda.
1) Trabalhos em
beirais
Beirais de ponte rolante e fachadas devem ser equipados
com linha horizontal de segurança para perfeita movimentação do trabalhador,
sem risco de queda.
A altura (H) da montagem da linha depende das
características do local e do tipo de serviço a ser executado; havendo risco de
queda é necessário usar ancoragem dorsal ou frontal.
A figura 1 mostra a perfeita e segura movimentação do
trabalhador, com a utilização do trava-queda R- 2 com 2m de fita retrátil e
peso de apenas 0,8 kg.
Não havendo risco de queda, ou seja, quando o objetivo
desejado é somente limitar a movimentação a um corredor com largura “L”, a
altura H pode ser de cerca de 1 m e a ligação entre o trole TR-4 e o cinto pára-quedista (talabarte) pode ser facilmente feita com
corrente de aço com elos de, no mínimo, 6 mm de
diâmetro, com o menor comprimento possível e conectado a cintura.
2) Trabalho em
fachadas
Considerando a constante necessidade de trabalho em
certas fachadas, principalmente para limpeza de vidros, pode ser muito pratico
e econômico a instalação definitiva de linha horizontal de segurança. Uma das
vantagens é a redução do tempo para a limpeza.
3) Trabalhos em
telhados
O Ministério do Trabalho exige que nos telhados sejam
instaladas linhas de segurança para segura movimentação do trabalhador (NR
18.18)

Vara Telescópica
Permite acessar pontos de ancoragem situados a menos de
10 m do solo. Fácil regulagem e ajuste do comprimento, de 2,5 a 7,5 m. É a mais
leve vara telescópica do mercado: 2,6 kg.

Conexão da vara telescópica aos ganchos G-1 ou G-2, por
simples rotação de 90º

Modos e pontos de ancoragem.

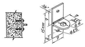
1. Parafuso olhal PO-1: em paredes de alvenaria, utiliza-se
o parafuso olhal passante, de aço forjado, galvanizado a fogo, tipo
prisioneiro.
Importante: deve ser feita a verificação estrutural
civil, garantindo a resistência de 1500 kgf, nos pontos de ancoragem.

2. Placa olhal PO-2: em paredes de concreto, utiliza-se a
placa olhal de inox, com 2 chumbadores de 3/8” de
diâmetro. Em superfícies metálicas, a placa olhal pode ser soldada ou fixada
por parafusos

Acesso aos pontos de ancoragem.
Para instalação temporária de linha de segurança vertical
ao Parafuso olhal PO-1 ou Placa olhal PO-2, situados a menos de 10 m do solo,
usa-se a vara telescópica conectada ao gancho G-1
Para instalação temporária de linha de segurança vertical
em vigas com dimensões circunscritas em um círculo com diâmetro de até 15 cm,
usa-se a vara telescópica conectada ao gancho G-2

O Álcool e seus
Efeitos
A bebida alcoólica interfere de modo considerável na
organização funcional do corpo humano, criando um falso senso de autoconfiança,
reduzindo o campo de visão, alterando a audição, a fala e o senso de
equilíbrio.
A aparente euforia causada pelo álcool anestesia os
centros cerebrais controladores do comportamento.
Existem outros efeitos da bebida que atingem o estômago,
cérebro, rins, pulmões, coração e lentamente, vão destruindo o funcionamento
desses importantes órgãos do corpo humano.
A maneira de eliminar o álcool do organismo é esperar a
sua transformação pelo fígado em água e dióxido de carbono.
Esse processo se realiza num tempo determinado e não pode
ser acelerado por café forte, banho frio, remédios ou exercícios físicos.
O motorista que dirige alcoolizado põe em risco a sua
vida e a dos outros.
Por isso, poderá ser multado, ter sua Carteira de
Habilitação recolhida e até mesmo cassada.
O motorista poderá sofrer, ainda, detenção de 06 meses a
03 anos.
·
90% do álcool
ingerido é absorvido pelo organismo em aproximadamente 1
(uma) hora;
·
A eliminação do
álcool demora de 5 a 8 horas dependendo de cada individuo;
·
O teor alcoólico, no
sangue, a partir de 0,6 g/litro de sangue já indica que o condutor esta
entrando em Zona de risco para a direção do veiculo, estando sujeito a penas
previstas no Código.
·
A quantidade ingerida
necessária para atingir o valor acima, varia de individuo para individuo.

O empregado que trabalha alcoolizado põe em risco a sua
vida e a dos colegas de trabalho.
O FATOR HUMANO E OS
ACIDENTES
Dentre os graves problemas nacionais, os acidentes de
quedas livres são uma verdadeira calamidade.
No Brasil muitas pessoas morrem ou ficam feridas em
acidentes de quedas de alturas, 60% desses ficam com lesões permanentes.
Os números são chocantes.
Mas, o mais impressionante é saber que 90% dos acidentes
são causados por trabalhadores e, desses 80% são perfeitamente evitáveis.
Vários fatores podem levar a acidentes, tais como:
ASPECTOS FÍSICOS Fadiga, sono, álcool, drogas, remédios,
alimentação, idade.
ASPECTOS PSÍQUICOS Estresse, traumas, emoções fortes,
instabilidade emocional, irritação, desespero, mau humor.
OUTRAS CAUSAS Pouca experiência, distração em geral,
postura inadequada, auto - confiança, falta de uso de
EPI (cinto de segurança).
Embora esses fatores possam contribuir para a ocorrência
de acidentes, somente a sua atitude adequada pode evita-los.
LEMBRE-SE: Mesmo com a experiência que o individuo tem
com o trabalho em local alto, a falha pode trazer consequências dolorosas.
È preciso respeitar as regras de
segurança e medicina do trabalho.
É preciso reverter esse triste índice de acidentes de
quedas de altura e VOCE, trabalhador, é o grande responsável pelo sucesso desse
projeto.
Outros vídeos
RESGATE COM MACA ACABA EM
TRAGÉDIA
TRABALHO EM ESTRUTURAS,
TANQUES E SILOS
Operários pendurados em
andaime
Operário morre em queda de
andaime
Acidente de trabalho mortes em Jaboticabal